Обзор плитного фундамента
Еще одним вариантом фундамента для домашнего строительства, который достаточно часто применяют, является плитное основание. Он обладает видом сплошной или решетчатой плиты, которая выполняется из железобетонного монолита или сборных железобетонных балок с заделанными стыками. Плитные фундаменты, обычно, возводят по всей площади сооружения. Его применение оправдано на почвах, подверженных сильному и неравномерному сжиманию, а также на просадочных и пучинистых грунтах. Его иногда еще называют «плавающим». Также он будет полезен там, где уровень грунтовых вод находится меньше 1 метра от поверхности земли, а также во время возведения многоэтажных сооружений. Отлично держит как вертикальные, так и горизонтальные движения.
Достоинства:
- Легкость в возведении;
- Можно построить на подвижных, просадочных и пучинистых грунтах.

Недостатки:
Нюансы при монтаже стаканного фундамента
Для увеличения прочности и общего усиления конструкции стаканы, колонны и плиты армируются, и арматура при монтаже дополнительно связывается между собой при помощи сварки. Кроме предварительного армирование, прутья арматуры закладываются в конструкцию и при монтаже колонн – при бетонировании колонн в дне стакана.
Клинья под колонны
Монтаж столбчатого стаканного основания имеет совершенно другую технологию, непохожую на процесс строительства ленточного типа фундамента, и сборная конструкция из готовых узлов – главное отличие. Единственная конструкция, которая собирается и заливается бетоном непосредственно на месте – опалубка для гнездообразующего стакана. Колонна опускается в опалубку и заливается бетоном, образуя прочное монолитное армированное соединение.
В промышленных сооружениях применяется не только сборная конструкция, но и монолитный стаканный фундамент столбчатого типа. Такая конструкция намного мощнее сборной, она тоже состоит из бетонных плит-ступеней и может выдержать повышенную нагрузку от большого веса объекта.
Размеры ступеней рассчитываются, исходя из габаритов будущего строения. Расположение колонн привязывается к координатным осям согласно проекту. Монолитные фундаменты стаканного исполнения могут более равномерно распределять высокие нагрузки и давление на фундамент.
3-D схема стаканного основания
Один из основных элементов сборного стаканного фундамента – фундаментная балка. Этот элемент располагается на бетонных столбах, которые, в свою очередь, упираются в подколонники (стаканы).
На этих балках будут возводиться несущие стены сооружения. Еще один вариант монтажа фундаментных балок – на колонных консолях. Прочное соединение стаканного основания с фундаментной балкой получается при сплошном бетонировании и качественном армировании конструкции.
Для придания необходимой прочности всей сборной конструкции применяется заливка бетоном всех узлов и элементов. Все составные части сборного стаканного фундамента выполнены из тяжелых бетонов марки не ниже М200В2, и армированы сеткой или стержнями. Сборка этого типа фундамента возможна только после полного набора прочности всеми элементами конструкции.
https://youtube.com/watch?v=7xXM6hLLvqQrel%3D0%26amp%3Bcontrols%3D0%26amp%3Bshowinfo%3D0
- moifundament.ru
- nafundamente.ru
- rfund.ru
Обустройство гидроизоляции
По этой причине необходимо в обязательном порядке устраивать гидроизоляционный слой по всей внешней поверхности. Разберемся, каким образом выполнить такую работу:
вся поверхность фундаментного основания тщательно очищается от грязи и мусора, неровности выравниваются тощим бетонным раствором;
после того, как поверхность затвердеет, ее обрабатывают битумом или иной смазкой с водоотталкивающим эффектом и несколько часов выжидают ее полного высыхания;
по битумному слою раскатывается рубероидный материал, места соединений полос промазываются разогретой смолой либо мастикой;
иногда рубероид укладывается несколькими слоями
Такая мера предосторожности выполняется, когда грунтовые воды находятся близко к поверхности земли.
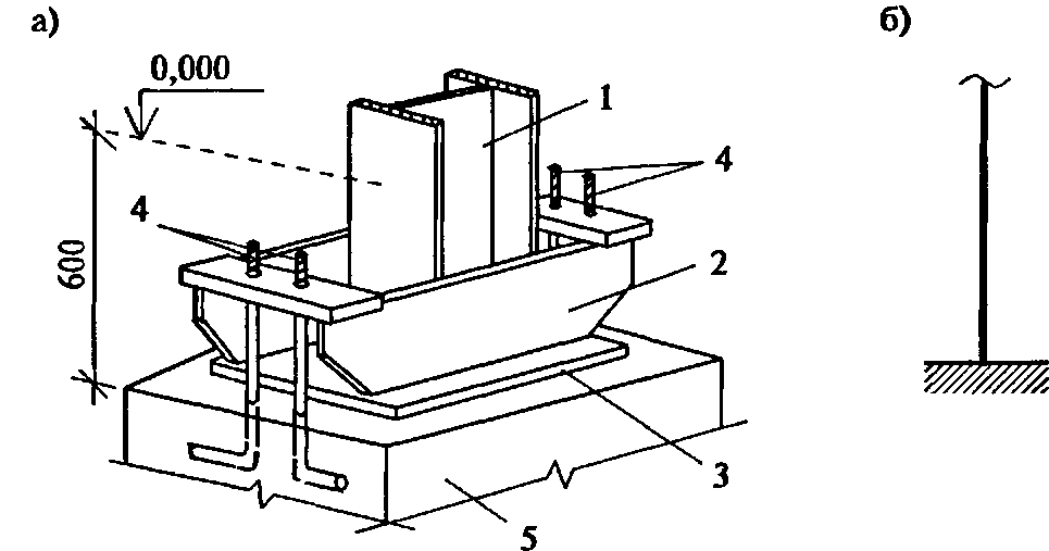
Конструкция стаканного фундамента
Все стаканные основания состоят из двух частей.
Опорная базовая плита толщиной не меньше 250 мм может состоять из нескольких ступеней, образующих монолитную конструкцию пирамидальной или конусной формы. Плита воспринимает вертикальные нагрузки от колонн, на которых собирают здание.
Подколонник пирамидальной или квадратной формы имеет полость, в которую устанавливают колонны. В сборе основание похоже на стакан, от чего произошло название.
Высота подколонника может быть увеличена в зависимости от возможной нагрузки и конфигурации здания.
Весь объём стакана армируют стальными прутьями и арматурной сеткой.
Поэтапная инструкция монтажа фундамента стаканного типа
Приступать к строительству фундамента стаканного типа можно только после создания проекта, точно рассчитанного специалистами. В этом проекте должен учитываться вид нагрузки: при центральной используются опорные плиты квадратного сечения, при боковой – прямоугольного. Вид башмака и его сечение зависят от грунта и несущей способности фундамента.
Но независимо от размеров и вида, фундамент должен изготавливаться из бетона марки М200 с впитыванием влаги до 5% максимум от собственного объема (обозначается маркировкой В2). Для армирования используется арматура класса А2 или А3 для сварных конструкций.
Установка фундамента из готовых блоков
Первое, из чего начинается любое строительство – обеспечение подъездной дороги к объекту. Не стоит экономить на щебенке – вес каждого блока варьируется от 1,3 до 5,8 тонн, так что тяжело груженые фуры по грунтовке после дождей могут не проехать. Когда на стройку доставлен кран, экскаватор и все материалы, можно приступать к устройству фундамента:
- Выкапываются котлованы под стаканные блоки согласно разработанному проекту. Сначала экскаватором, а потом выравниваются по нивелиру вручную лопатами.
На дно обязательно насыпается минимум 30 см песчано-гравийной подушки, которая должна быть больше будущей плиты основания на 30 см. Сначала – гравий, который трамбуется и выравнивается по уровню. Потом такой же толщины слой увлажненного песка. Если песок поливается со шланга, нужно быть предельно аккуратным, чтобы не намочить земляное дно. Если дно котлована и песчаная подушка не выровнены, не добиться равномерного распределения веса. Согласно проекту, размечается центральная точка для каждого котлована, по которой будет выверяться положение плиты основания и башмака. С помощью крана блоки переносятся к котловану, а два строителя на весу выравнивают их согласно разметке и после этого кран опускает блок.
Выбранным из котлованов грунтом производится обратная засыпка установленных стаканов.
После того, как все стаканы засыпаны, с помощью крана устанавливаются железобетонные колонны.
Фундаментная балка укладывается на стаканы между колоннами – для нее не нужно дополнительно заливать ленточный фундамент. А уже на эту балку будет ставиться бетонная стеновая панель.
Скорость установки готовых стаканов действительно впечатляет – за неделю можно поставить до 130 стаканов и сразу же приступать к возведению стен, не дожидаясь застывания фундамента, как это происходит при заливке.
Устройство монолитного фундамента
Несмотря на то, что стоимость готовых стаканных блоков не так и высока, практически всю денежную выгоду нивелирует сложная и дорогостоящая доставка многотонных башмаков. В некоторых случаях гораздо проще залить фундамент на месте, заказав несколько бетономешалок с готовой смесью. Самостоятельно замешивать бетон не стоит – добиться нужной марки не получится. Процесс устройства не очень отличается от установки готовых блоков:
- Выкапываются котлованы, выравнивается дно, укладывается и трамбуется песчано-гравийная подушка.
- Делается подбетонка – тонкий и ровный слой цементного раствора, который предотвратит потерю бетонного молочка.
На подбетонку устанавливается армирующий каркас для будущего стакана. Сваривать можно арматуру только с соответствующей маркировкой, если арматурные пруты не предназначены для сваривания, их связывают поволокой.
Вокруг армирования устанавливается опалубка, повторяющая форму стаканного блока. Если же планируется установка железных колонн, вместо пустой ниши внутри башмака делается монолитный стакан с вмурованными анкерами из высокопрочного металла.
Когда опалубка готова, можно приступать к заливке бетона. Не стоит забывать вибрировать бетон погружным вибратором до полного исчезновения пузырьков воздуха, поднимающихся из глубины. Если этого не делать, под весом стен и перекрытий основание может начать трескаться.
Снимается опалубка после того, как бетон затвердеет – ориентировочно на третий день после заливки. Остаточную прочность бетон набирает только через месяц, все это время фундамент нужно поливать и укрывать.
Только после того, как фундамент остаточно затвердеет, можно приступать к обратной засыпке и установке колонн.
Для понимания процесса, на видео показано, как заливается подобный тип фундамента:
Фундамент стаканного типа технология монтажа
Блоки стаканного фундамента отличаются большим весом — от 1.3 до 5.8 тонн, что требует применения крановой техники для их монтажа. Помимо стрелового крана и его машиниста в укладке стаканного фундамента должны быть задействованы два монтажника.
Согласно действующим нормативам, продолжительность установки одного стаканного блока весом в полторы тонны должна составлять 27 минут.
Этап №1 — подготовительные и земляные работы
Участок, на котором будет устанавливаться стаканный фундамент очищается от строительного мусора и поверхностной растительности. Если в проекте предусмотрен монтаж блоков на дне котлована, выполняется разработка грунта с помощью экскаватора.
При мелкозаглубленной установке блоков котлован вырабатывается на глубину, равную высоте опорной плиты стаканного блока. Котлован может быть обустроен для каждого блока отдельно, либо в виде сплошной линии, повторяющей контуры стен здания.

Рис 1.6: Стаканный блок помещенный в отдельный котлован
При необходимости создания уплотняющей подсыпки длина и ширина котлована должна быть на 30 сантиметров больше аналогичных размеров опорной плиты. После выемки грунта производится зачистка котлована, выравнивание и уплотнение его дна.
Этап №2 — обустройство уплотнения
Уплотняющая подсыпка под стаканный фундамент обустраивается из песка и мелкофракционного щебня. Необходимость в ней возникает в условиях низкоплотных грунтов, которые склонны к усадкам под весом здания и фундаментной конструкции.
Важно! Уплотняющий слой должен на 30 сантиметров выступать за пределы опорной плиты, в противном случае не будет обеспечено равномерное опирание блока на подготовку, что чревато перекосом железобетонной конструкции. Рис 1.7: Схема монтажа стаканного фундамента стреловым краном

Рис 1.7: Схема монтажа стаканного фундамента стреловым краном
Толщина уплотнения варьируется в зависимости от веса стаканного блока, однако при любых условиях толщина слоя песка и щебня должна быть идентичной.
Первым слоем выступает щебень — он равномерно распределяется и выравнивается на дне котлована. Щебень уплотняется с помощью ручной трамбовки либо навесного оборудования стрелового крана. Поверх щебня насыпается слой песка, который поливается водой со шланга и уплотняется аналогичным образом.
Этап №3 — разметка базисных осей
На дне котлована выполняется разметка места монтажа стаканного блока. Оси разбивки закрепляются на обносочных досках с помощью бечевки либо проволоки диаметром 2 миллиметра. В местах пересечения осей устанавливается отвес (массой не мене 0.5 кг) и центральная точка расположения опорной плиты переносится на землю.

Рис. 1.8: Схема разбивки осей стаканного фундамента
С помощью размерного шаблона устанавливаемой плиты на грунт переносятся боковые контуры положения блока, которые размечаются с помощью арматурных колышек и натянутой между ними бечевки.
Совет эксперта! После разметки фундамента горизонтальность подсыпанного слоя проверяется с помощью нивелира и выравнивается до идеально ровного уровня.
Этап №4 — установка блока
Перед началом установки блоков один из строителей проверяет состояние монтажных петель на железобетонных конструкциях, в случае искривления они выправляются молотком.
Далее на грани стакана с помощью краски наносятся ориентиры, указывающие на проектные стороны расположения осей блока. Один монтажник производит строповку блока, цепляя в монтажные петли зацепы тросов стрелового крана. Строповка может выполняться двумя либо четырьмя крюками, в зависимости от габаритов железобетонной конструкции.
Рис 1.8: Последовательность монтажа стаканного фундамента
Проверив надежность зацепов монтажник отходит от стакана на безопасное расстояние и дает команду оператору крана на поднятие блока. Нижняя стенка поднятого изделия очищается от налипшей земли, после чего кран перемещает стакан на место укладки.
На высоте 15-20 сантиметров над грунтом два монтажника начинают в ручную корректировать установку блока, разворачивая и смещая его в требуемом направлении.
По команде монтажников оператор крана полностью опускает блок на грунт, после чего с помощью ломов строители выравнивают его положение относительно осям разметки. Когда блок занимает требуемое пространственное положение производится демонтаж строповки и начинается установка следующей конструкции.
Технология изготовления сборного железобетонного основания
Важно помнить, что установка сборного железобетонного фундамента стаканного типа допустима только в теплую погоду. Согласно нормативной документации монтаж изделий на мерзлую землю запрещена
При этом все работы должны производиться с привлечением тяжелой спецтехники и под контролем опытных строителей, инженеров и других специалистов.
Подготовительные работы
После получения всех данных и составления проектной документации можно приступать к монтажу фундамента. Инструкция следующая:
- Подготовка. В первую очередь подготавливается участок. Для этого требуется очистить его от растительности, мусора. Снять верхний плодородный слой почвы.
- Копка. Ямы вырыть отдельно для каждого элемента. Либо подготовить траншею в виде одной линии, которая будет проходить по контуру будущего сооружения. Далее очистить дно, сделать его ровным, хорошо утрамбовать.
- Подсыпка. Требуется при возведении сооружения на слабой почве, склонной к деформациям под воздействием массы фундамента и основного здания. В качестве уплотнения используется гравий и песок. Толщина должна быть указана в проектной документации. При этом песчаный и гравийный слои обязаны быть одинаковыми. В начале засыпать гравий. Его выравнять и утрамбовать. Затем насыпать песок. Его увлажнить, тщательно утрамбовать.
На дне вырытой траншеи разметить участки месторасположения плит с помощью обносочных досок и ленты. В месте пересечения осей поставить отвес. Он укажет на точку для монтажа опорного блока. Контуры шаблона плиты перенести на грунт. Отметки можно сделать веревкой и колышками. После проверить горизонтальный уровень подсыпки. Если есть перекосы, то выровнять подсыпку до идеального значения.

Монтаж блоков
- Монтаж блоков. В каждом элементе есть специальные монтажные петли. Для быстрой их установки достаточно зацепить эти петли краном. Немного приподняв блок, следует убрать прилипший грунт. Далее переместить его на нужный участок. Затем происходит корректировка расположения плит. Если требуется, то повернуть или переместить ее в необходимом направлении. Затем установить ее на положенное место. Аналогичным способом следует разместить все элементы.
- Армирование. Готовые стержни закрепить друг с другом сварочным аппаратом. Уложить арматуру во все элементы фундамента.
- Обратная засыпка. Пустоты возле блоков засыпать землей, хорошо утрамбовать.

Гидроизоляция
Затем приступить к созданию гидроизоляционного слоя. Наносится он на внешнюю поверхность блоков.
Инструкция следующая:
- поверхность блока очистить от грязи, выравнять ее цементной смесью;
- после высыхания промазать битумом;
- после затвердения битума монтировать рубероид, обработать стыки мастикой.
Установка колонн
Заключительный этап работ — установка колонн. Инструкция следующая:
Предварительно привезенной колонны разложить в удобном месте. Так спецтехника сможет с легкостью добраться до них, переместить на нужный участок.
Монтаж колонн представляет собой нанесение специальных рисок
После установки краном этих элементов важно оценить соосность основания и колонн. Она должна быть максимально точной, соответствовать всем требованиям
Иначе в скором времени произойдет смещение балок.
Далее монтировать фундаментные балки. Заново разметить и определить проектные показатели места размещения колонн. Затем удалить грязь с балок, закрепить их тросом и навесить над колонной.
Закрепить балки болтами, проверить соосность. Если все в порядке, то закрепить их в консоли колонны.
На закрепленные балки можно устанавливать бетонную стеновую панель.

Монтаж колонн
Большинство металлических колонн размещается на сплошном фундаменте из бетона. Кода они готовятся к монтажу, на них наносят отметки, обозначающие продольную ось и верх фундамента. При установке колонны удерживают одним из таких способов:
- При помощи анкерных болтов, которые заделаны в фундамент. После того, как колонна выверена по двум перпендикулярным осям, места соединения заливаются цементным раствором.
- Напрямую фундаментной поверхностью, которая возводится до отметки фрезерованной подошвы у колонны. В этом случае цементный раствор дополнительно не подливается.
- С использованием стальных опорных листов. У них верхняя поверхность строгается. Заливка цементного раствора выполняется при необходимости.
Для удержания колонн с широкими башмаками и высотой до 10 м достаточно использовать одни только анкерные болты. Колонны с большей высотой и узкими башмаками необходимо также поддерживать расчалками в той плоскости, где жесткость конструкции минимальна.
- Крепление расчалок выполняется в верхней части колонны до того, как она будет поднята и размещена.
- Другой конец расчалок крепится к якорям или элементам фундамента, расположенных неподалеку.
- После того, как расчалки полноценно натянуты, стропы с колонны можно убирать.
- Полностью снимать расчалки разрешается только после того, как колонна закреплена при помощи постоянных элементов. Обеспечить устойчивость колонне можно подкрановыми балками или связями, которые размещаются после монтажа первых двух колонн, соединенной подкрановой балкой.
Когда выполняется монтаж колонн, размещаемых на фундаменте, то в ходе процесса их крепят анкерными болтами. Любые металлические прокладки, подкладываемые под основание, обязательно привариваются. В свою очередь, колонны, на верхних ярусах также скрепляются болтами или сваркой. На это соединение приходится высокая нагрузка, поэтому его прочность тщательно просчитывается при проектировании.
крепление металлических колонн при помощи анкерных болтов
Монтаж элементов металлических конструкций с помощью выверки достаточно трудоемкий и длительный по времени. Поэтому в последнее время все больше используется способ монтажа, который не требует выверки. Такой метод позволяет, как улучшить качество конструкции, так и сократить сроки, требуемые для возведения здания.
Безвыверочный монтаж требует подготовки металлоконструкции в процессе изготовки и непосредственно на стройплощадке. Чтобы увеличить точность конструкции, используются следующие технологические приемы:
- Раздельное изготовление башмака и опорной плиты;
- Фрезерование торцов двух ветвей колонн;
- Строгание опорных плит;
- Наличие 4 приваренных планок на опорной плите с нарезанными отверстиями для размещения болтов;
- Наличие осевых рисок на ветвях колонн.
Опорная плита размещается при помощи регулировочных болтов на опорных планках, которые бетонируются полностью в фундамент заподлицо, по аналогии с закладными деталями. Опорная поверхность плиты выставляется гайками таким образом, чтобы разница фактической отметки от проектного положения составляла не более 1,5 мм.
Когда ведется установка колонны, то осевые риски, нанесенные на ветвях, совмещаются с рисками на опорных плитах. Это обеспечивает достаточную точность размещения, после чего колонну крепят анкерными болтами. В этом случае не требуется дополнительно выверять колонну по высоте или осям. После того, как установлены расчалки, на колонны можно монтировать подкрановые балки. Когда подкрановые балки совмещены по осевым рискам с колоннами, их не требуется дополнительно выверять. После закрепления балок с колонн снимаются расчалки.
Инструкция по закладке стаканов
Сборка такого типа фундаментов нуждается в применении дополнительных средств механизации и спецтехники, поэтому план проекта сооружения должен отражать эту необходимость, например, обеспечивать подъездные пути и место для дислокации техники, наличие обслуживающего персонала и стоянки.
Спецтехника для сборки стаканного основания
Первый шаг – подготовка площадки, которая заключается в расчистке участка под основание и рытье котлована, размеры которого указаны в проекте;Трамбовка песчано-щебневой подушки, уложенной на дно траншеи. Подушка нужна, чтобы выровнять дно котлована и обеспечить гидроизоляцию;Столбчатый стаканный фундамент возводится согласно гост и с использованием контрольных и измерительных инструментов для проверки уровней конструкции;Следующая операция – разметка площадки под фундамент – для этого нужны деревянные колышки или металлические прутья, и строительный шнур. Разметка проводится для каждого стакана отдельно;Перед монтажом бетонных стаканов их очищают от грязи, и подъемным краном устанавливают на место.
Для перемещения в стаканах залиты монтажные петли, а крановщик и стропальщики должны иметь соответствующие допуски. После установки каждого стакана контролируется его положение – пир помощи нивелира, отвеса и уровня;По окончании монтажа всех стаканов делается обратная засыпка – вынутый грунт засыпается в оставшееся пространство вокруг стаканов и трамбуется. Далее на стаканы устанавливаются бетонные опоры.
Лишний грунт равномерно распределяется по стройплощадке или вывозится;Чтобы выровнять колонну в промышленном фундаменте, под нее подкладывают клинья. Материал для клиньев – металл, дерево или железобетон. После центровки колонн деревянные клинья нужно убрать, остальные – можно оставить.
Строительство стаканного фундамента
Все строительные, измерительные, исследовательские и проектировочные операции необходимо проводить в соответствии с требованиями гост 24476-80 и техническими условиями, предъявляемыми к столбчатым основаниям из сборных железобетонных узлов и элементов. Рассчитывать прочность и состав материалов следует заранее, на заводе-производителе.
Области использования
Этот тип фундамента наиболее эффективен для:
- инженерных объектов – мостов, переходов и переездов, сооружаемых над железнодорожными путями:
- инфраструктурных сооружений – подземных парковок, гаражей;
- строений на тепловых и электрических станциях;
- складских объектов, предназначенных для складирования материалов, заготовок, готовой продукции;
- небольших производственных зданий;
- одноэтажных спортивных, торговых, выставочных комплексов небольшого веса;
- жилых каркасных домов.
Если основание используется для строений из дерева, то количество этажей может достигать трех.
Изготовление фундаментов стаканного типа и основные требования к ним
При установке таких оснований нужно помнить, что прочность изделия может быть достигнута только за счет использования качественных строительных материалов и хорошего армирования. Поэтому железобетонный фундамент и отличается длительным сроком эксплуатации.
Установка колонны в стакан фундамента.
Этот тип основания редко используется в общем частном строительстве, потому что отличается высокой стоимостью и необходимостью использовать механизированную технику. Основание запрещено ставить на пучинистых и просадочных почвах. Технология предусматривает установку железобетонных опор и стоек в готовый стакан, в котором затем происходит фиксация.
Требования к фундаменту:
- Бетон должен соответствовать М200 и обладать степенью водонепроницаемости В2;
- Транспортировку стоек следует осуществлять на место строительства только после того, как основание наберет необходимый запас прочности;
- Следует обязательно выполнить армирование основания. Толщина слоя бетона вокруг армирования должна составлять не менее 30 мм;
- Обнаженная арматура – заводской брак, в строительстве использовать такие изделия категорически запрещено;
- Если в бетоне есть трещины с толщиной более 0,1 мм, то это также брак;
- Все производственные петли в блоках нужно аккуратно демонтировать, забивать их в бетон категорически запрещено.
Когда нужно обязательно использовать стаканный фундамент
- При строительстве промышленных и частных зданий общего назначения, в несущей конструкции которых используются бетонные опоры и стойки;
- При возведении электростанций, а также в атомной промышленности, при монтаже армированных стоек для машинных и конденсационных отделений;
- При проведении реставрационно-востановительных работ на стойках и колоннах в административных зданиях;
- Если проектом предусмотрено использование стоек как единственно возможной несущей конструкции здания.
Преимущества стаканных фундаментов
- Высокая прочность и качество заводских блоков, т.к. при их производстве осуществляется контроль качества и проверка на прочность и разрыв всех несущих элементов;
- Это оптимальное основание для строительства промышленных зданий, где присутствуют локальные нагрузки на единицу площади фундамента;
- Простая технология монтажа;
- Экономия сил и времени на возведении фундамента.
Также нужно учитывать необходимость транспортировки отдельных стоек и колонн непосредственно от производителя, а, учитывая их размеры, иногда приходится продумывать специальные маршруты следования.
Как делается расчет колонного фундамента
Монолитный столбчатый фундамент под металлическую колонну
Как правило, расчет фундамента для металлической колонны подразумевает, способен ли грунт выдержать расчетную нагрузку фундамента, с которой он будет воздействовать на квадратном сантиметре площади, и сбор всех данных о будущем строительстве. Фактически, нужно получить полную информацию о здании, грунтах и грунтовых водах, провести сбор и систематизацию полученных данных и уже на их основании передать строителям готовый проект. Для этого нужно:
- получить от архитектора проект будущего здания, спецификацию строительных материалов и коммуникаций;
- рассчитать полную площадь опоры;
- сделать сбор всех параметров, систематизировать их и получить фактическое расчетное давление здания в целом.
Как узнать нагрузку, которая будет создавать само здание? Для этого нужно получить подробные данные о самом здании, сделать сбор массы и характеристик всех материалов, которые могут использоваться при его возведении, а также проектируемых коммуникаций, будущей мебели, количества снега на крыше. Такой расчет состоит из нескольких частей:
- Расчет перекрытий зданий и стальных колонн. Сначала нужно узнать массу самой металлической колонны, ведь она также, хоть и незначительно, создает давление на грунт. Для этого требуется посчитать объем конструкции. Делается это по геометрической формуле вычисления объема цилиндра. Так получится объем, который затем умножается на плотность металла для получения массы стальной колонны.
- Затем нужно узнать массу перекрытий. Как правило, это фабричные изделия и каждый производитель уже указывает их массу. Поэтому, достаточно связаться с поставщиками.
- Бывают случаи, когда на металлические колонны устанавливается ростверковая конструкция. Ее массу также не проблема рассчитать, ведь для этого достаточно знать, какое количество бетона или готовых бетонных конструкций пойдет на строительство ростверка.
- Расчет массы стен. Тут многое зависит от материала, ведь кирпич весит меньше, чем бетон, но больше, чем пеноблоки. Соответственно, стоит провести сбор данных обо всех строительных материалах, используемых при строительстве здания.
- Расчет крыши. Сюда входит спецификация материалов, из которых сделано чердачное помещение, а также спецификация всех материалов крыши, вплоть до внешнего покрытия. При проектировании сооружения архитектор предоставляет подробную спецификацию, поэтому посчитать суммарную массу конструкций не составит труда.
- После суммирования всех полученных данных будет вычислена цифра, которая характеризует максимально допустимую нагрузку на опоры фундамента.
Чтобы узнать, какая сила давит на единицу площади опоры, нужно знать ее габаритные размеры. Если стальной столб имеет квадратное сечение 50 х 50 см, то площадь опоры будет составлять 2500 см². Тогда давление, которое будет воздействовать на единицу площади грунта, вычисляется методом деления массы здания на площадь одной опоры.
Но всегда существует правило: большее количество опор не будет лишним, поэтому часто проектировщики устанавливают опоры с интервалом приблизительно 1,5 – 3 м. Это делается с целью предоставления необходимого резерва прочности на конструкции, связанные с несанкционированной достройкой, обустройством помещений или установкой тяжелого промышленного оборудования. Как правило, при расчетах предоставляют обязательный 50% резерв прочности на каждую опору.
Монолитный столбовой фундамент: инструкция
Данный метод возведения столбового фундамента мало отличается от предыдущего варианта. Различие состоит в том, что в вырытых ямках стоит предусмотреть вертикальные опалубки.
Они съемного типа и распираются между стенками. И только после этого можно приступать к изготовлению столбиков, для чего применяется раствор бетона. Желательно использовать цемент марки не ниже М200. Обязательным требованием является создание арматурной обвязки внутри опалубки. После этого заливается бетонный раствор. Необходимо еще раз напомнить, что длина прутьев над землей должна составлять 20 см как минимум.
Когда бетонный раствор застынет, сбивается опалубка, выполняются мероприятия по гидроизоляции опор. При этом желательно воспользоваться рубероидом, с помощью которого происходит обертывание столбиков в 2 или 3 слоя.
Анкерные соединения
Конструктивная схема с указанием нахождения анкерных соединений
В зависимости от типа выбранной колонны, анкерные соединения подбираются в индивидуальном порядке. Установки и фиксация колонны выполняется с помощью больших болтов или анкеров, которые затем привариваются к арматурному слою и надежно удерживают колонну в вертикальном положении.
Отличительная особенность монтажа соединительных элементов в том, что после их закрепления фундамент разбивают. Если после этого отклонения болтов не произошло, то монтаж считают выполненным правильно, а если есть отклонения центров на расстояние от 2 мм, тогда анкера заменяют.
Плюсы и минусы
Стаканная система имеет немало преимуществ:
- Быстрота монтажа. Основой такого фундамента являются готовые бетонные плиты. С привлечением специальной тяжелой техники процесс возведения заметно ускоряется.
- Минимальная нагрузка на грунт. Даже с учетом монтажа тяжелого бетона с армированным каркасом создается незначительное давление на почву. Это достигается за счет точечного расположения стаканов.
- Незначительное поглощение влаги. Основание практически не контактирует с землей, поскольку стаканы располагаются на цельных плитах. Они играют роль барьера. Поэтому грунтовые воды не оказывают негативного влияния на систему.
- Долговечность. При соблюдении технологии строительства срок службы такого основания может быть выше 100 лет.
- Мобильность. С помощью крана можно переместить плиты на другое место.
- Высокий уровень прочности. Благодаря равномерным нагрузкам, стаканный фундамент отлично выдерживает различные негативные влияния.

Имеются и недостатки:
- Требуется аренда спецтехники. Плиты необходимо транспортировать, производить их монтаж. Один или несколько человек не смогут самостоятельно сдвинуть изделия, поскольку они обладают большими размерами и серьезной массой.
- Высокая стоимость. Цена зависит от стоимости изготовления плит.

























































